- Este sistema integra pantallas dentro del parabrisas que recogen las imágenes de diferentes cámaras y las muestran de un modo “inteligente”, para asistir a conductor e incrementar la seguridad.
- Estas pantallas pueden aparecer cuando se activa el intermitente, o cuando hay automóviles, personas, señales u obstáculos alrededor del vehículo. Las imágenes pueden aparecer en función de hacia dónde mira el usuario, para alinearse con su mirada y no obstruir su campo de visión, o para activarse cuando no ha revisado adecuadamente los espejos o no ha advertido algún peligro.
Barcelona, 19 de septiembre de 2024. El parabrisas sigue siendo protagonista de numerosas avances dentro de la industria del automóvil. Es la gran “pantalla” a través de la cual vemos el mundo cuando vamos al volante, y va a ir integrando tecnologías de realidad aumentada y otras pantallas que muestren información relevante o contenidos.
Apple –que ha registrado numerosas patentes relacionadas con el parabrisas- ha patentado recientemente* una innovación para integrar pantallas dentro del parabrisas que ofrezcan las imágenes de los retrovisores e interactúen con la mirada del conductor y diferentes parámetros.
La introducción de la patente explica que “en un vehículo convencional, los espejos están ubicados separados del parabrisas delantero, por lo que el conductor debe apartar la mirada de la carretera para revisar los espejos antes de cambiar de carril, frenar o realizar otras acciones. El riesgo de colisión puede aumentar cuando el usuario aparta la mirada del parabrisas delantero para comprobar los espejos”.
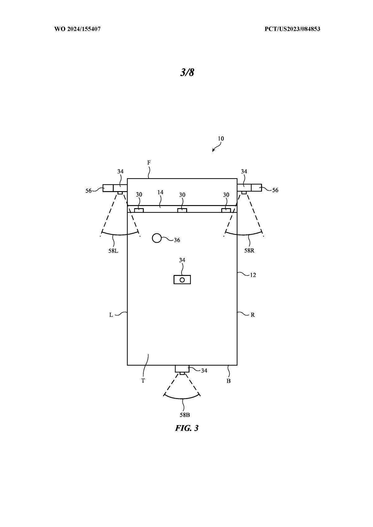
El sistema de Apple pretende integrar una o más pantallas en el parabrisas del vehículo. Puede ser una pantalla laminada en la superficie exterior del cristal, que vaya integrada dentro del vidrio o en la que las imágenes se proyectan sobre el parabrisas y se reflejan hacia un ojo para que las vea un usuario.
“Las pantallas en el parabrisas delantero pueden configurarse para mostrar imágenes capturadas por las cámaras del vehículo. Por ejemplo, una cámara izquierda puede montarse en un lado izquierdo para mostrar una imagen trasera en vivo, como la que ofrece un espejo retrovisor. Y lo mismo en el lado derecho. También pueden mostrar imágenes a vista de pájaro Esas pantallas pueden reemplazar a los retrovisores o complementarlos.
Este sistema puede configurarse para funcionar de un modo “inteligente”, que asista al conductor y atienda sus necesidades para incrementar la seguridad. Por ejemplo, pueden mostrar automáticamente la transmisión de video en vivo cuando se activa el intermitente de cada lado. También pueden activarse cuando hay automóviles, personas, señales u obstáculos alrededor del vehículo. Por otro lado, las imágenes pueden aparecer en función de hacia dónde mira el usuario, para alinearse con su mirada y no obstruir su campo de visión, o para activarse cuando detecten que el usuario no ha revisado adecuadamente los espejos o no ha advertido algún peligro. También pueden activarse dependiendo de la información recogida por diferentes sensores del vehículo o de la urgencia de la información mostrada, por ejemplo, para evitar una colisión.
Otras patentes de Apple relacionadas con el parabrisas
Apple también ha patentado un parabrisas que detecta sus fisuras a través de una capa conductora con una red de receptores dentro del cristal y que agenda una cita con el taller para ir a repararla. Apple incluso va más allá, pues describe un escenario con coches autónomos que acuden por sí solos al taller en los momentos en los que su dueño no los usa.
Otra innovación son los cristales de automóvil que se oscurecen automáticamente, provistos de una capa modular activa con una propiedad óptica eléctricamente ajustable que permite ajustar la transmisión de la luz a través del cristal y su reflectividad. Apple también ha patentado un sistema capaz de detectar e identificar objetos y peatones en condiciones de baja visibilidad; y de proyectar en el parabrisas una recreación de su imagen y posición para que el conductor pueda reaccionar a tiempo. Un sensor láser LIDAR emite un haz laser pausado dentro del campo de visión del vehículo y analiza la luz reflejada por los objetos. Y un sensor infrarrojo detecta la firma térmica de todo lo que está por delante del coche. Con esa información y una potente unidad de procesamiento de imágenes con inteligencia artificial, el sistema detecta y define lo que hay por delante del vehículo.
Otra interesante patente de Apple es un parabrisas con realidad aumentada, que puede mostrar direcciones, mapas e incluso llamadas con FaceTime. Este head up display tendría funcionalidades muy avanzadas, como la detección del nivel de atención y estrés de los ocupantes, a través de un sistema que supervisa el movimiento de los ojos, la postura corporal, la temperatura corporal, la frecuencia del parpadeo, la frecuencia cardíaca y los gestos corporales. Este sistema de realidad aumentada es capaz de identificar calles, edificios, tiendas… Y también de señalarlos con elementos gráficos en el parabrisas cuando el conductor le pide, por ejemplo, “una frutería más adelante a la izquierda”. Del mismo modo, el sistema podría reconocer gestos o hacia donde mira el usuario del vehículo mientras solicita una información del entorno, para mostrársela en su campo de visión y justo en la posición en la que se encuentra el objeto real.
*Solicitud de patente WO2024155407 “Displays with exterior views”.


